[bsa_pro_ad_space id=14]
After reversing course following backlash from the removal of dials on infotainment systems and buttons from its steering wheels, Volkswagen now wants to replace indicator stalks with multi-function tabs.
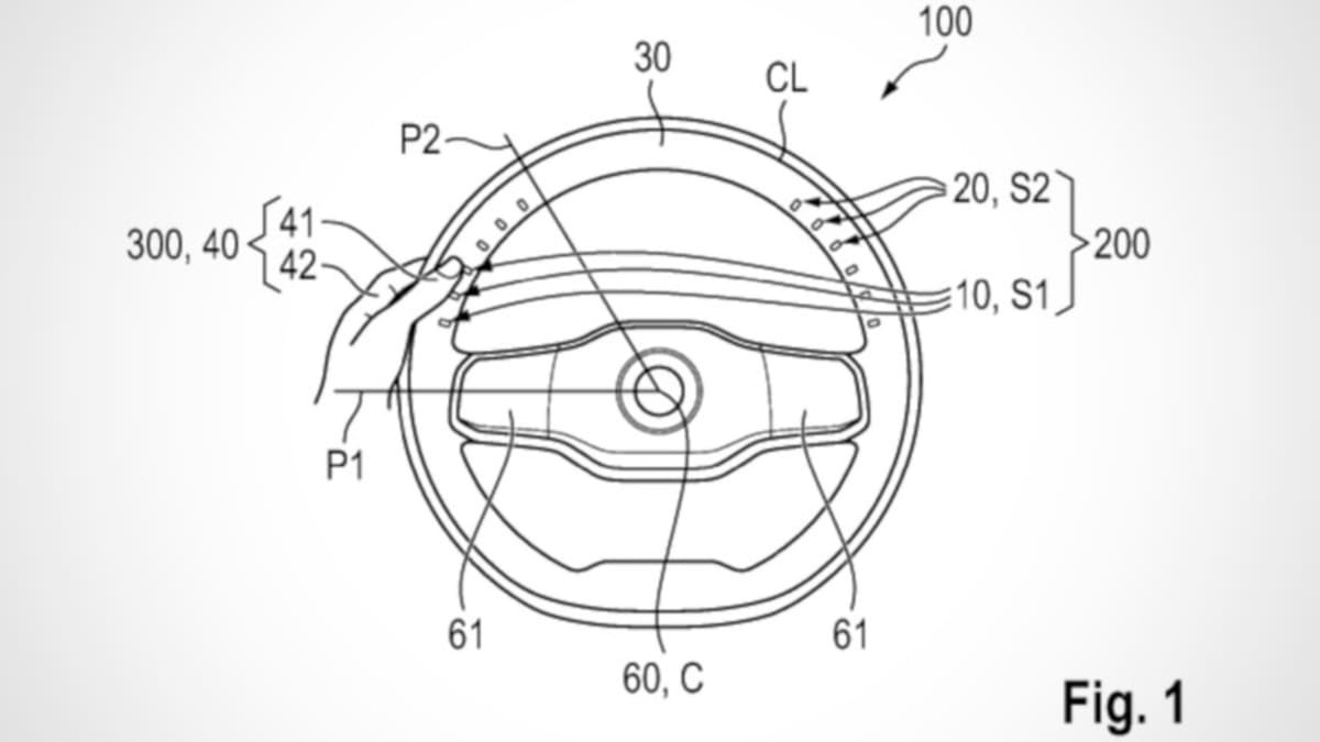
Less than a month after Volkswagen admitted it was wrong to remove physical buttons in its latest vehicles, it now appears the German car-maker is considering removing indicator stalks.
Uncovered by website CarBuzz, the buttons would be located at approximately the 10 o’clock and 2 o’clock positions, with lights illuminating like numbers on a clock to show the driver which functions are activated.
However, the controls would be multi-use. The driver would need to first select ‘first operating elements’ with a physical button, which would then illuminate options such as headlights and high-beams – turning them into a two-stage operation.
It is unclear if such a system would make driving simpler, safer and easier for the driver – or be a step backwards.
If the driver selected another button for ‘secondary operating elements’, it would change the buttons to another set of functions, such as infotainment or cruise control, for example.
It’s a similar idea to the ‘shift’ button on computer keyboards, which can change whether a key is used for numbers or punctuation.
According to the report, Volkswagen claims the new design would eliminate the need for drivers to remove their hands from the steering wheel, while also having design and production advantages but reducing the number of mechanical components manufactured for each car.
Volkswagen has been the subject of widespread criticism in recent years after it removed physical buttons from its models, with occupants only able to access basic functions through its infotainment system or with haptic buttons – forcing drivers to divert their attention from the road, rather than finding the buttons by touch.
During an interview with British publication Autocar in June 2023, Volkswagen CEO Thomas Schaefer admitted the decision was wrong and was in the process of being reversed.
“We had frustrated customers who shouldn’t be frustrated. So we’ve spent a lot of time now – working through really systematically – on what all the functions are that a customer usually touches when using a vehicle.”
While car companies often patent designs and technology to protect their ideas, it’s not a guarantee we’ll see them become a reality on future models.
[bsa_pro_ad_space id=15]




