[bsa_pro_ad_space id=14]
The dream of a successor to the Mazda RX-7 isn’t dead yet, with newly-published patent filings showing a new sports car with hybrid technology.
Mazda doesn’t appear to have given up on the idea of a rotary-powered sports car just yet.
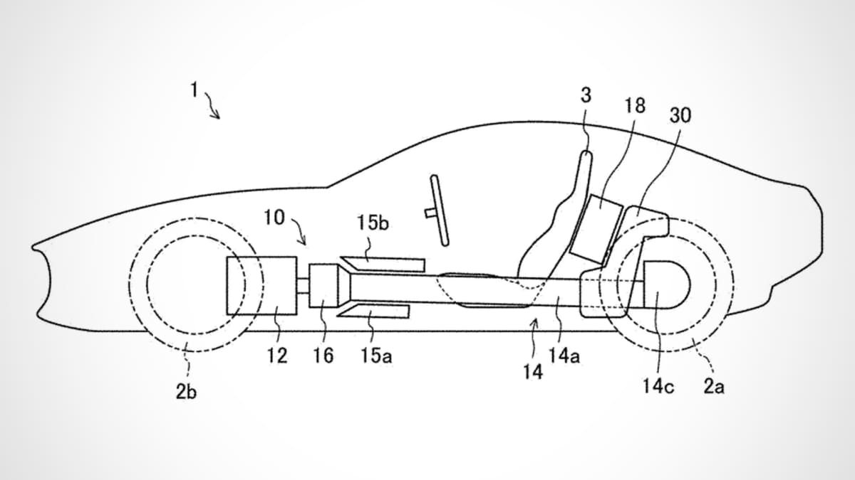
New patent filings from Mazda, unearthed by US publication The Drive, show a two-seat vehicle using a petrol or diesel (internal-combustion) engine driving the rear wheels – however it now appears as if the Japanese brand is thinking about ways to bring the vehicle into the era of electrification.
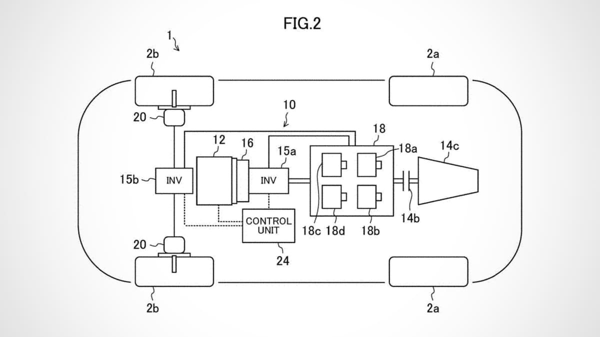
Along with a traditional engine, the patent shows two electric motors have been added to power the front wheels – making it a hybrid with all-wheel drive.
While the exact design of the internal-combustion engine hasn’t been specified, Mazda includes a mention of a “reciprocating engine” in its notes.
Curiously, Mazda’s engineers have come up with a system that uses four 48-volt modules that work as a 48-volt battery – but can be reconfigured to two pairs of 96-volt batteries in series when more power is required.
It’s understood the patent was originally filed in June 2021, yet was only published earlier this month.
Despite multiple patents for a rotary-powered sports car appearing in recent years, Mazda continues to downplay the idea of such a vehicle being in development.
“Rotary is our symbol. It’s a dream of engineers at Mazda to have a sports car with rotary. Now is not the time for that,” assistant manager of Mazda’s powertrain development division, Yoshiaki Noguchi, told Autocar in January 2023.
“When the company situation is a lot better [in regards to completing its roll-out of hybrid and electric models], we can think about that dream another time.”
In August 2021, Japanese publication Best Car reported Mazda was pursuing hydrogen as a fuel for the rotary engine – an idea being spearheaded by Toyota in recent years to keep internal-combustion engines alive, without any harmful tailpipe emissions.
[bsa_pro_ad_space id=15]



