[bsa_pro_ad_space id=14]
The futuristic-looking display could do-away with the instrument cluster, placing all driving information on the steering wheel.

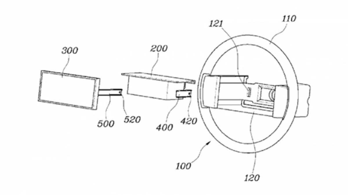
Hyundai has filed patent in Germany for a steering wheel-mounted display ahead of the driver, effectively doing away with the conventional instrument cluster.
The Korean car maker supplied drawings alongside the application showing a two-spoke steering wheel with a display incorporated between where the hands would be placed at 9 o’clock and 3 o’clock positions.
The design addresses the issue whereby some drivers’ vision of the instrument cluster is impaired by the steering wheel itself. With the most pertinent information displayed on the steering wheel, the driver gets an unimpeded view of information such as vehicle speed, engine revs, and vehicle range.
Of course, the display moves along with the wheel thereby raising another question of what happens when the driver manoeuvres and turns corners. It’s also mounted lower-down and further away from the view of the road.
The patent describes how the effectiveness of the airbag is unimpeded by the screen. According to the patent the airbag will fold out of the steering wheel without being obstructed by, or damaging, the digital display.
Hyundai has previously experimented with touchscreen steering wheel controls which can change functions depending on what needs to be controlled. But this new patent describes a screen that displays information rather than controls.
Hyundai’s luxury subsidiary Genesis previously revealed the Mint concept which featured a widescreen display within the steering wheel – could this be the production iteration of that design concept? No further information is detailed regarding when or which Hyundai vehicles will receive the futuristic design.
Lead image render supplied by Carbuzz.

As part of the Drive content team, Tom covers automotive news, car reviews, advice, and holds a special interest in long-form feature stories.
He understands that every car buyer is unique and has varying requirements when it comes to buying a new car, but equally, there’s also a loyal subset of Drive audience that loves entertaining enthusiast content.
Tom holds a deep respect for all things automotive no matter the model, priding himself on noticing the subtle things that make each car tick. Not a day goes by that he doesn’t learn something new in an everchanging industry, which is then imparted to the Drive reader base.
Read more about Tom Fraser
[bsa_pro_ad_space id=15]




