[bsa_pro_ad_space id=14]
Like Real Racing, but for real-world cars. Couple it with a Mustang and see what happens?
Ford has been granted a patent in the United States for a system it calls ‘Non-Autonomous Steering Modes’, which would allow an autonomous car to be steered using a smartphone.
First discovered by carbuzz.com, Ford’s patent allows the vehicle to be controlled through the accelerometer and gyroscope within most smartphones. The same system is used to control cars in video games like Real Racing, but hasn’t yet made the leap to reality for reasons we probably needn’t explain here.
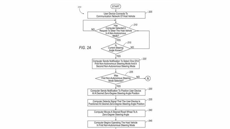
The patent outlines two ‘modes’ for the system. The first mode involves establishing a connection between the smartphone and the car, at which point the user would be asked to align their device with the vehicle’s zero steering angle. At this point, the user will be handed control of the steering systems.
From then, the accelerometer and gyroscope housed within the device would sense the movement, gravity and angle at which the device is being held, and relay that information to the car’s systems.

The second mode outlined in the patent involves a virtual steering wheel shown on the device’s screen. To enable this mode, the user would be asked to align the virtual steering wheel with the angle of the car’s front wheels.
The user would then steer the car with their finger on the touchscreen. Because of the disconnect between the user and the vehicle’s physical components, all inputs would be initiated using electric actuators.
It is worth nothing that just because the concept has been patented, it by no means is a guarantee that the technology will feature in production vehicles anytime soon.
Ford itself claims the document is intended to be illustrative only.
MORE: Ford news, reviews, comparisons and videos
[bsa_pro_ad_space id=15]